In 3GPP Release 17 and Release 18, the work items on 5G Quality of Experience (QoE) management for diverse services were introduced.
5G is designed for various types of emerging services. Operators have a strong need to continuously upgrade their 5G networks to provide high-quality experiences for the emerging services.
The existing 5QI (5G QoS identifier) service requirements may not be enough to guarantee a high-quality user experience for the various types of services. 5G QoE measurement collection is targeting to specify a mechanism to collect application layer measurements from the users. The users perform the application layer measurements according to user experience parameters/metrics for the emerging 5G services, e.g., streaming services, virtual reality (VR) services, extended reality (XR) services, multimedia telephony service for IMS (MTSI) services, and multicast broadcast services (MBS).
For example, the user experience parameters/metrics for streaming services or VR services include average throughput, initial playout delay, buffer level, a list of playback periods, playout delay for media start-up and so on.
Based on the collection of application layer measurements from the users, the network can be enhanced to satisfy the user experience for the various types of services.
The overall new features for 5G QoE measurement collection are described as follows.
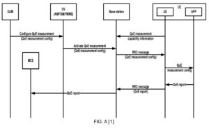
In Release 17, both management based and signaling based QoE measurement collection functions are supported. For management-based QoE measurement collection, a base station, which is configured directly from operations and management (OAM), can select a user equipment (UE) and activate the QoE measurement collection. For signaling-based QoE measurement collection, the OAM initiates the QoE measurement collection for a specific UE via the 5G core network (e.g., access and mobility management function (AMF), session management function (SMF), mobility management entity (MME)). FIG. A illustrates an example of signaling-based QoE measurement collection .

FIG. A
Per-slice QoE measurement collection function is supported in Release 17. When a service is provided within a configured network slice, the QoE measurement for this service type can also be configured together with the corresponding network slice scope, so that the user experience of this service can also be evaluated and enhanced on a per-slice basis .
Radio access network (RAN) visible QoE measurement collection function is also supported in Release 17. RAN visible QoE measurements are configured at a specific UE by a base station. The RAN visible QoE measurements are reported from the UE to the base station as explicit information readable by the base station. The RAN visible QoE measurements can be used by the base station to optimize network and improve user experience. The RAN visible QoE measurements are supported for streaming and VR services.
In Release 18, the QoE measurement collection function supports collection of QoE measurements for MBS communication service. The measurement collection is supported for two communication service types, i.e., MBS broadcast and MBS multicast . QoE measurement collection for application sessions delivered via MBS broadcast is supported in radio resource control (RRC) CONNECTED, RRC INACTIVE, and RRC IDLE states. QoE measurement collection for the application sessions delivered via MBS multicast is supported in RRC CONNECTED state .
QoE measurement and reporting via master base station or secondary base station for NR dual connectivity (NR-DC) architecture is supported in Release 18. The reporting leg, i.e., via either master base station or secondary base station, can switch in the overload scenario . Either the master base station or the secondary base station can generate and send a RAN visible QoE configuration to UE. UE may send RAN visible QoE reports to the base station using either signaling radio bearer 4 (SRB4) or SRB5. The base station that received a RAN visible QoE report can forward the report to the other base station (the secondary base station or the master station) via the RRC TRANSFER message . The RAN visible QoE reports can be used by the master base station and the secondary base station to improve user experience for the UE.
References:
3GPP TR 38.890: ” Study on NR QoE management and optimizations for diverse services”.
3GPP TS 38.300: ” NR; NR and NG-RAN Overall Description; Stage 2″.
3GPP TS 38.331: “NR; Radio Resource Control (RRC); Protocol specification”.
3GPP TS 38.423: ” NG-RAN; Xn Application Protocol (XnAP)”.
ABOUT THE AUTHOR
Jian (James) XU’s current research interests include Mobility (LTM and AI-based mobility), Quality of Experience (QoE), extended Reality (XR) for 5G/6G. He has over 185 U.S. granted patents and 12 peer-reviewed papers up to date. Prior to joining Ofinno, Jian (James) XU was a Principal/Chief Research Engineer at LG Electronics and attended 3GPP RAN3/RAN as a delegate since 2010. He has contributed more than 450 contributions to 3GPP. He received the Ph.D. degree from Yonsei University, Korea, in 2009.